25届考生看过来!山东省属公费生2024年录取情况汇总
2024年山东省省属公费生包括:师范生、医学生、农科生。本科层次公费生高考成绩不低于山东省普通类一段线。公费专科医学生高考成绩不低于山东省普通类二段线。
公费师范生培养任务由山东师范大学、曲阜师范大学、济南大学、青岛大学、聊城大学、鲁东大学、临沂大学、齐鲁师范学院等高校承担。
公费本科医学生培养任务由山东中医药大学、山东第一医科大学、山东第二医科大学、滨州医学院、济宁医学院等高校承担;
公费专科医学生培养任务由山东医学高等专科学校、菏泽医学专科学校、山东中医药高等专科学校等高校承担。
公费农科生培养任务由山东农业大学、青岛农业大学等高校承担。
符合以下条件的山东高中阶段学校学籍毕业生均可报名参加公费生:
(一)热爱所报考专业及将来从事职业,品行良好,遵纪守法。
(二)本科层次公费生须通过山东省2024年普通高等学校招生报名且夏季高考成绩不低于我省普通类一段线。
公费专科医学生须通过山东省2024年普通高等学校招生报名且夏季高考成绩不低于我省普通类二段线。
(三)自愿承诺签订并履行公费生协议,公费师范生、医学生要保证毕业后在定向就业单位工作不少于6年,公费农科生要保证毕业后在定向就业单位工作不少于5年。其中,学前教育专业的公费师范生,就业地区公办幼儿园实行人员控制总量备案方式管理的,按照省委组织部等4部门印发的《山东省实行人员控制总量备案管理的事业单位人事管理办法(试行)》(鲁人社发〔2017〕53号)、中共山东省委组织部、山东省人力资源和社会保障厅《关于优化事业单位人事管理的通知》(鲁人社发〔2019〕37号)等文件要求进行管理。
(四)身体健康。报考公费师范生、公费医学生要具备认定教师资格或医师资格的身体条件等。
(一)志愿填报。
符合招录条件的考生可在普通类提前批第1次志愿填报中填报“公费师范生”或“公费本科医学生”或“公费农科生”院校和专业志愿,以上类型不可兼报。报考公费生的考生填报1个院校志愿,每个院校志愿内可填25个专业志愿,专业志愿由“专业+定向就业市”构成。如有招生计划未完成,则可在普通类提前批第2次志愿填报中继续填报。
公费专科医学生设置在普通类常规批,“专业+院校(分就业市方向)”为一个志愿,在普通类常规批第2次志愿填报时填报,若第2次志愿投档录取后仍有剩余计划,可在常规批第3次志愿填报时继续填报。常规批第2次志愿和第3次志愿均为“专业+院校(分就业市方向)”单位的平行志愿,公费专科医学生作为常规批96个志愿的组成部分一并填报。
填报志愿的时间及要求根据省教育招生考试院有关规定执行。公费师范生中艺术类、体育类考生志愿填报及录取办法由省教育招生考试院另行公布。
(二)录取办法。
公费师范生、公费本科医学生、公费农科生在普通类提前批次录取。对达到或超过普通类一段线的考生,省教育招生考试院依据其志愿,根据从高分到低分的原则,按高校招生计划1∶3比例投档。招生院校应制定科学的录取办法,按照分数优先的原则根据考生填报的专业志愿和各专业分市计划择优录取。
公费专科医学生在普通类常规批次录取,考生成绩须达到普通类二段线。录取时,公费专科医学生志愿作为常规批96个平行志愿的组成部分投档录取。
凡被录取的考生不再参加其他任何形式、任何批次的投档录取。
公费生入学前需与培养学校和定向就业市有关部门签订公费教育协议书。《师范生公费教育协议书》由省教育厅拟定,《医学生公费教育协议书》由省卫生健康委拟定,《农科生公费教育协议书》由省农业农村厅拟定,并于考生填报高考志愿前公布。
录取工作完成后,由培养学校将经各定向就业市有关部门签章的《公费教育协议书》随《录取通知书》一并寄送给录取为公费生的考生,考生持《录取通知书》和经考生或考生及其监护人签字的公费教育协议书,按培养学校规定时间及要求报到入学。报考公费农科生的考生取得《录取通知书》后,在报到入学前需与定向就业县(市、区)有关部门签订公费教育协议书,具体工作流程另行通知。录取为公费生的考生如未按规定签订公费教育协议书,视为放弃2024年普通高校入学资格。
培养学校要在考生报到入学并完成学籍注册后,形成公费生录取报到情况总结材料,并分市填制《注册公费(师范/医学/农科)生简明登记表》(见附件,点击文末“阅读原文”查看),连同考生或考生及监护人签字的公费教育协议书,一并邮寄或送达各市教育(教体)局或卫生健康委或农业农村局。同时,培养学校要将报送各市的《注册公费(师范/医学/农科)生简明登记表》汇总后报省教育厅或省卫生健康委或省农业农村厅备案。
公费生的优点是显而易见的,就是毕业可以直接编制内的工作:老师、医生、农业系统管理和技术人员。
山东师范大学
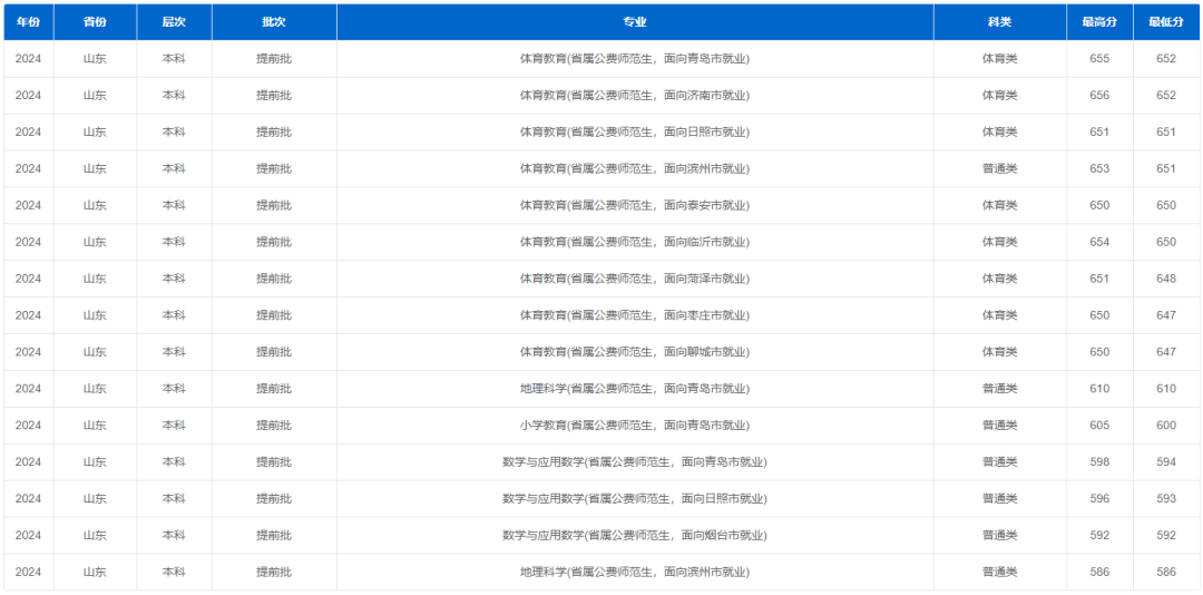
省内第一师范名校山东师范大学录取情况略显意外,更低分570分,更高分628分(低于曲师大)。更高分同样出现在面向青岛就业的。第二高分627分,出现在面向潍坊就业的。
曲阜师范大学
曲阜师范大学从招生情况看,生源质量创出新高,应该可以说是全省第一。
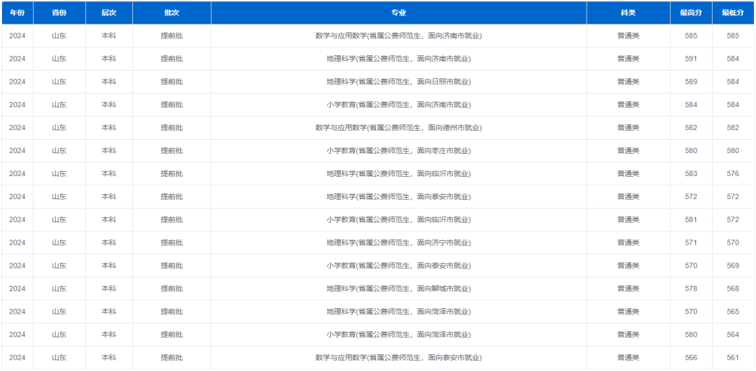
青岛和烟台一直都是比较热门的城市,这两地的定向录取普遍都在610分以上,更高分为定向青岛的汉语言文学专业,635分。
省会济南的分数并不算高,低于青岛烟台等市,与其余普通地市分数没啥太大差距。
鲁东大学
鲁东大学省属公费师范生的录取更高分是622分,比去年高出11分。值得关注的是,该校今年共录取了600分以上考生18人,其中数学与应用数学(省属公费师范生,面向威海市就业)录取更高分为622分,创历史新高。此外,该校学前教育专业录取更低分较2023年高出41分,录取更低位次较2023年上升66099位。其余高分主要面向青岛、日照、烟台等地。
齐鲁师范学院
临沂大学
聊城大学
聊城大学今年录取了236名省属公费师范生,录取更高分为615.231分,比去年高出了8.231分。历史学(省属公费师范生,面向青岛市就业)专业公费师范生的录取更高分为615.231分,创历史新高。物理学(省属公费师范生,面向济宁市就业)专业录取更低分为558.21分,录取更低位次为64556名。
青岛大学
济南大学
我校在山东省省属公费师范生录取工作于7月7日圆满结束。
山东省省属公费师范生计划81人,按照招生计划1:3投档,录取81人。
录取更高分617,对应位次13182;
录取更低分568分,对应位次 51645。
山东中医药大学
学校省属公费医学生录取已于7月13日结束,共录取160人,录取更低498分。考生可通过学校本科招生信息网“录取查询”栏目查询录取结果和专业,查询时须输入本人14位高考考生号和姓名进行查询。
滨州医学院
暂未查询到录取情况,考生可登录学校招生信息网https://zs.sdsmu.edu.cn/查询自己的录取结果。
山东第一医科大学
山东第一医科大学公布了公费医学生的录取情况,分数非常高。其中面向青岛就业的平均分超过了613分(省1.5万名以内)。第二名是面向烟台就业的,平均分605分。
青岛大学2024年临床医学投档更低分597(位次24336),临床医学(5+3一体化) 投档更低分614 (位次14425),可以说山一大平均分613的青岛定向,完全可以去青岛大学的5+3,拿个硕士研究生学历,就业可能会更好。
山东第二医科大学
暂未查询到录取情况,考生可登录学校官网https://www.sdsmu.edu.cn,查询自己的录取结果。
济宁医学院
暂未查询到录取情况,考生可登录学校官网http://zs.jnmc.edu.cn/lqcx
,查询自己的录取结果。
山东农业大学
青岛农业大学






